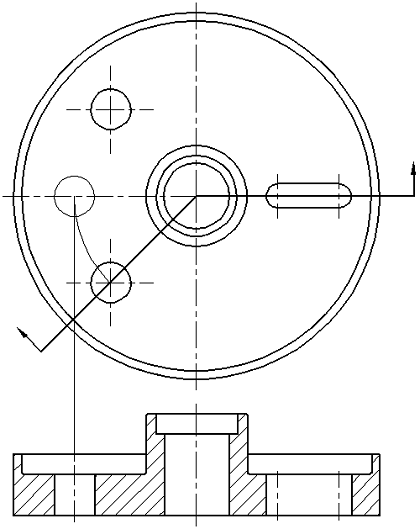
Sección Abatida

Concepto de Sección Abatida

Ejemplo de Aplicación

Paso 1 Sección Abatida Paso 2 Sección Abatida
Resultado Final Sección Abatida